身近な商品・サービスと知財のページへようこそ!
※本記事は、2025年8月時点での調査に基づいて執筆しております。
身近な商品・サービスと知財のページへようこそ!
今回は、コンビニ「ファミリーマート(ファミマ)」のデジタル戦略に関する記事です。
先日、こちらの動画を拝見しました。最近のファミマのデジタル戦略についてのお話がとっても面白かったです!
例えば、最近のファミリーマートは、レジの上部に大きなデジタルサイネージが設置されています。

ファミリーマートは、主にユーザーのスマホにダウンロードされているアプリと、こちらのデジタルサイネージを活用し、情報の発信および収集を行っています。
それから、店内に清掃ロボット「ポム」が導入され始めています。これは単なる清掃ロボットではつまらない!ということで、一台で何役も兼ねる仕組みになっているのだそうです。
【参考】小型モニターや商品陳列スペースを備えた多機能型床清掃ロボットを300店舗へ導入

今回は、ファミリーマートにおけるこれらのデジタル導入について、関連する特許出願とともに調べてみた記事です。
ファミマのデジタルサイネージ「ファミリーマートビジョン」
ファミマに入店すると、レジの上に大きく設置されているデジタルサイネージ。こちらが「ファミリーマートビジョン」です。
(筆者の自宅付近のファミマにはまだ設置されておらず、実物が確認できないので残念です・・・)
このデジタルサイネージを介して配信されているコンテンツは、店頭に商品を配荷しているメーカーのCMに限りません。サービスがスタートした当初は、店舗に商品を配荷している会社に広告を出稿してもらっていましたが、現在は非配下の企業、すなわち、ファミマで販売していない商品やサービスの広告(例えば、動画配信サービスや生命保険、その地域のリクルーティングなど)も増えているのだそうです。

(筆者作成)
ファミマはこの広告事業の開始にあたり、データワンという会社を設立しています。
※株式会社データ・ワンへの出資比率は以下です。
株式会社アイエフピー:55% (伊藤忠商事が55%およびファミリーマートグループが45%を出資し、共同で設立する会社)、NTTドコモ:40%、サイバーエージェント:5%
実際の購買データをもとにお客様の興味関心を分析し、広告配信を効率化・最適化することで売上を改善していきます。
特に着目しているのが、①モバイル端末、②コンビニエンスストア、そして③キャッシュレス決済。
この3つはいずれも、私たちの生活に欠かせないものであり、日常との接点があります。さらに、この3つに着目することにより、
「50代男性が平日朝に〇〇を購入した」
というデータだけでなく、
「50代男性が■■の広告を見て興味を持ち、その日のうちに〇〇を購入した」
というデータが見えてきます。
このようなデータの収集・活用に関する特許出願を発見しました(出願人は伊藤忠商事)。
特開2025-112203
発明の名称:ユーザ行動情報取得装置、ユーザ行動情報取得方法及びプログラム
出願日 :令和6年1月18日(2024.1.18)
ステータス:審査請求前 (公開公報の発行)

(筆者作成)
情報処理装置は、ユーザに情報が提示されたことを検出し、その提示された情報に関する行動のデータを取得します。
行動のデータは、例えば、店舗(コンビニ)の外における店舗外行動のデータと、店舗内における店舗内行動のデータを含みます。
店舗の外の行動は、例えば、店舗へ移動する、また、アプリに表示される広告をクリックする、など。ユーザーのスマホからデータを取得できます。

(特開2025-112203 図4より引用)
店舗内の行動は、例えば、デジタルサイネージを見る、商品棚の前で立ち止まる、など。こちらはユーザーのスマホデータに加え、店舗に設置されるカメラ等からも取得できます。

(特開2025-112203 図7より引用)
これらの情報をユーザーごとに関連付けて広告主に提供します。
例えば、このような情報を広告主は把握できます。
「広告Aが提示されたユーザ(U001)が、B店舗へ移動して、商品Cを購入した。」

単にいつ、どこで、何が購入されたか?といった情報にとどまらないため、広告主はどのような広告を配信することにより、サービスの利用に繋げられるか?といったことを検討することができます。
さらに、関連案件の特開2025-112206には、単に広告主に情報を提供するだけでなく、情報の提示がユーザに対して好適になされたか否かを判定し、判定結果を広告主に対して出力することが請求項1に記載されています(請求項1、段落0084)。

(筆者作成)
特開2025-112206
発明の名称:提示判定装置、提示判定方法及びプログラム
出願日 :令和6年1月18日(2024.1.18)
ステータス:審査請求前 (公開公報の発行)
これにより、広告主は、
・自身が提供する事業(例えば、商品やサービスの提供)がどのくらい認知されているのか?
・顧客がどの程度興味関心を持ってくれているのか?
などを知ることができ、効果的に情報を配信することができるようになりますね。
人々の生活の導線上であるコンビニで広告を配信する。店内のデータ、ファミペイアプリのデータなどをもとにお客様の興味関心を分析できる。そんなファミリーマートのDXが特許情報からも読み取れました。
一台何役?ファミマの清掃ロボット「ポム」
続いては、店舗の清掃ロボットについて調べてみました。
今までは店舗スタッフが数時間に一度清掃していました。この作業をロボットに置き換えることにより、スタッフは他の業務に注力することができますね。

そして、ロボットが単に掃除するだけでは面白くない!
清掃で店内を移動するついでに、商品棚の様子をチェックしたり、販売促進を行ったりします。一台で何役もこなす構成になっていて面白いです。
ちなみにこの清掃ロボットの名前「ポム」は、この開発に携わった方のペットの名前に由来するそうです。
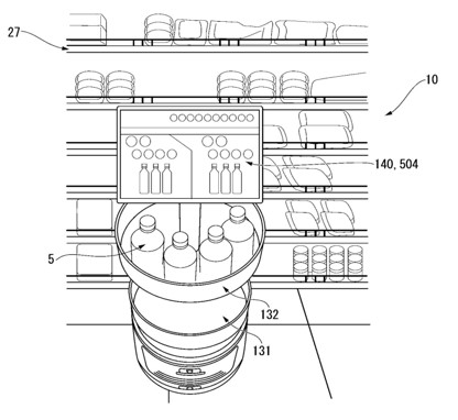
この、清掃ロボットに関する特許が確認できたので紹介します(出願人は株式会社ファミリーマート)。
特開2025-115853
発明の名称:清掃販売促進ロボット
出願日 :令和6年1月26日(2024.1.26)
ステータス:審査中(公開公報の発行)

(図1を引用)
このロボットの機能について、一つずつ見ていきましょう。
①清掃機能
清掃機能は、床面の掃き掃除と拭き掃除ができる構成になっています。
回転ブラシの回転により、床面のゴミを集めます。そして、タンクから供給される水分を拭き取ることにより、床面を水拭きします。
②撮像機能
撮像機能は、清掃によって店内の陳列棚を移動中に、陳列棚を撮像します。撮影された動画や画像は、店舗スタッフが使用する端末に送信されてもよいし、遠隔地の外部記憶装置に送信されてもよいです。これにより、遠隔で店舗の様子を確認することができますね。
③広告機能
最後に表示機能です。清掃ロボットは、広告画像をモニターに表示させながら、店内を移動します。ロボットに設置されている棚に、画像に関連する商品のサンプルが設置されるとより効果的です。

(特開2025-115853 図4より引用)
また、表示させる画像は、店内の商品には直接関係しない他の画像でも可能です。例えば映画やスポーツイベントなど、店舗の商品であるかに関係なく、広告主が出稿した広告を配信します。
これは先ほど紹介したデジタルサイネージに近いのかもしれません。レジ上のデジタルサイネージが店内を移動しているイメージでしょうか。

(特開2025-115853 図6より引用
清掃だけでなく、店内の様子の共有や広告までこなすスーパーロボット!現時点では限られた店舗のみでの導入のようですが、導入が進むほど、ますます話題になりそうです。
まとめ
いかがでしたでしょうか?
冒頭にご紹介した動画で、「店舗を中心に考えるのではなくて、お客さんを中心に考える」ことを細見社長が動画でお話されていたのが印象的でした。
もし、店舗を中心に考えていたら、デジタルサイネージで配信される広告コンテンツは店内商品の販促にとどまっていたかもしれません。ユーザの生活導線と捉えることで、ユーザが興味を示す、店舗商品以外の広告を配信するといった方向性でデジタルサイネージが成長したのではないかと思いました。
全国に何店舗も展開していて、毎日のように人が利用する。このインフラを活かし、さらにDXをかけあわせたビジネスがこれからも次々と誕生しそうです。身近なコンビニから始まるDXの進化に、これからも注目していきたいですね。
オモチさんが執筆される身近で楽しい記事をこれからもご期待ください!

身近な商品・サービスと知財

オンボードアイピー

知財の楽校 公式メールマガジン
オフィシャル・ライターのご紹介

作家名
金田 有美子(通称オモチ)
略歴
弁理士として特許事務所で働く傍ら、身近な商品・サービスと知財をテーマに記事執筆をしています。企業知財経験もあります。
現所属先
弁理士法人IPX
https://ipx.tokyo/member/yumiko_kanada/
BAMBOO INCUBATOR 専門家メンバー
https://bambooincubator.jp/members/kanada_yumiko
一言
雑談レベルで知財のことを楽しく知ってもらえたら。そんな思いで、日々執筆をしています!
SNS
X(旧Twitter)
https://twitter.com/omochi_benrishi